LKUTD-HS系列电动浮筒式液位计概述:
LKUTD-HS型电动浮筒式液位计是我厂吸取了国外先进液位测量技术而开发研制的新型电动液位测量仪表。它适用于石油、化工、电力、冶金等行业的各种常压和压力容器内液位的连续测量。其输出是与液位变化成比例的4~20mA直流电信号,与显示表、记录仪、调节器、计算机配套使用,实现工艺生产过程的液位测量与控制。
电动浮筒式液位计结构原理及特点
液位计基于力平衡原理设计制造,由检测和变送两部分组成。检测部分,浮筒感受液位的变化,通过杠杆、轴封膜片支点传递给箔电阻应变式测力传感器并产生力平衡;变送部分将电桥的不平衡电流放大为二线制4~20mA直流电流信号输出。
应变式测力传感器和变送部分位于变送器表壳体内,并设有调零、调满电位器,便于调整电器零点与量程。调整迁移弹簧初始位置螺钉,可以调整机械零点。
变送器取消了电动III型仪表的矢量机构及电磁反馈系统,从而使结构更为简化,机械位移小,提高了变送器的可靠性、测量精度和灵敏度,便于现场调试、检修和维护。
订货须知
1、产品型号、名称、测量范围、安装方式
2、浮筒室材质要求(普通钢或不锈钢),对于强腐蚀性介质,订货时面议
3、被测介质工作压力
4、被测介质密度和密度差
5、备品备件要求
电动浮筒式液位计主要技术参数
·测量精度:±0.5%、±1%、±1.5%
·灵敏度:≤0.05%
·环境温度:-20℃~70℃
·相对湿度:≤95%
·供电电源:DC24V±10%
·输出信号:DC4~20Ma(二线制)。
·负载电阻:0~500Ω
·介质温度:普通型≤150℃
高温型≤350℃
·工作压力:≤6.4MPa。
·测量范围:液位300~3000mm
界面300~800mm
·介质密度:0.4~1.6g/cm3
·介质密度差:≥0.2g/cm3
·防爆等级:ExdiaIICT6(本安隔爆型)
最大开路电压:DC 30V
最大短路电流:DC 30mA
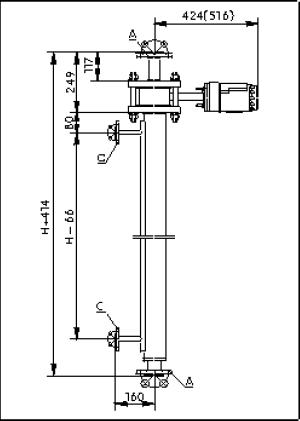
电浮筒液位变送器结构图
版权所有 Copyright(©)2009-2011 江苏力科仪表有限公司
电话号码:0517-86909222 商务热线:15305232668 传真:0517-86909221
地址:江苏省金湖县工业园
技术支持:易品网站建设专家 苏ICP备13047422号-2