LKHG5玻璃板液位计可用来直接指示密封容器中的液位高度,具有结构简单,直观可靠,经久耐用等优点,但容器中的介质必须是与钢、钢纸及石墨压环不起腐蚀作用的。
产品结构
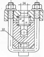
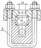
仪表的上下阀上装有法兰接头,与容器连接构联通器,透过玻璃板直接指示容器布什的液位,“夹套型”设有加热或冷却装置。该装置加热时可用蒸气,冷却时可用循环水,这样可以调节流动性能,夹套型接管尺寸ZG1/4内螺纹。
在上下阀内装有钢球,当玻璃板因意外事故破坏时,钢球在容器压力作用下,自动密封,防止容器内的液体继续外流。
在仪表的上端针形阀装有阻塞螺钉,可供放气之用,下端针形阀也装有阻塞螺钉??晒┓趴?、取样、排污、清洗。
技术数据
针形阀的自动关闭压力 ≥0.222MPa
夹套蒸气压力为 ≤0.612MPa
玻璃板的急变温差为 ≤240℃
注:我厂承接特殊规格的定货。
LKHG5玻璃板液位计产品类型
名称
|
型号
|
公称压力MPa
|
介质温度℃
|
结构特征
|
(规格按上、下阀中心线间距离
|
标准号
|
||||||
结构形式
|
材料
|
L=304
|
L=500
|
L=800
|
L=1100
|
L=1400
|
L=1700
|
|||||
透光式玻璃板液位计
|
T2.5
|
2.5
|
-20~+250
|
普通型
|
I(碳钢)
II(1Cr18Ni9Ti) |
|
△
|
△
|
△
|
△
|
△
|
HG5-1364-80
|
夹套型
|
I(碳钢)
II(1Cr18Ni9Ti) |
|
△
|
△
|
△
|
△
|
△
|
|||||
T6.3
|
6.3
|
-20~+250
|
普通型
|
I(碳钢)
II(1Cr18Ni9Ti) |
|
△
|
△
|
△
|
△
|
△
|
HG5-1365-80
|
|
夹套型
|
I(碳钢)
II(1Cr18Ni9Ti) |
|
△
|
△
|
△
|
△
|
△
|
|||||
反射式玻璃板液位计
|
R4.0
|
4.0
|
-20~+250
|
普通型
|
I(碳钢)
II(1Cr18Ni9Ti) |
|
△
|
△
|
△
|
△
|
△
|
HG5-1366-80
|
夹套型
|
I(碳钢)
II(1Cr18Ni9Ti) |
|
△
|
△
|
△
|
△
|
△
|
|||||
R0.6
|
0.6
|
-20~+250
|
带颈衬里
|
III(碳钢衬里)
|
△
|
|
|
|
|
|
HG5-1367-80
|
|
带颈
|
I(碳钢)
II(1Cr18Ni9Ti) |
△
△ |
|
|
|
|
|
HG5-1368-80
|
||||
R
|
常压
|
-20~+250
|
衬里
|
III(碳钢衬里)
|
△
△ |
|
|
|
|
|
HG1369-80
|
|
嵌入联接
|
I(碳钢)
II(1Cr18Ni9Ti) |
△
△ |
|
|
|
|
|
HG5-1370-80
|
LKHG5玻璃板液位计外型尺寸图
|
|
1、为了保证自动密超过计划作用,容器内的介质压力不得小于0.2MPa,在打开上下阀时,阀杆退出转数不少于4转(使钢球封门时,不致于碰到阀杆的顶端)。 2、使用中的仪表应定期检查。清洗玻璃板内外壁污垢,使液位显示清晰。 3、检修装配玻璃板在旋紧螺栓时,要密切注意玻璃板受力不均而破碎。因此,螺栓须严格按图示1、2、3┈┈┈10、11、12顺序交叉地分多次夹紧玻璃板。 |
版权所有 Copyright(©)2009-2011 江苏力科仪表有限公司
电话号码:0517-86909222 商务热线:15305232668 传真:0517-86909221
地址:江苏省金湖县工业园
技术支持:易品网站建设专家 苏ICP备13047422号-2