HG5反射式玻璃板液位计适用于直接指示各种塔、罐、槽、箱等容器内介质液位。在仪表上下阀门内装有安全钢球,当玻璃意外破损时,钢球能在容器内压力的作用下,自动关闭液流通道,以防止液位继续外流。
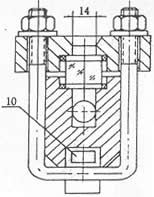
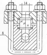
【 结构图 】
![]() 反射式普通型 |
![]() |
安装、使用与维护
1、为了保证自动密超过计划作用,容器内的介质压力不得小于0.2MPa,在打开上下阀时,阀杆退出转数不少于4转(使钢球封门时,不致于碰到阀杆的顶端)。 2、使用中的仪表应定期检查。清洗玻璃板内外壁污垢,使液位显示清晰。 3、检修装配玻璃板在旋紧螺栓时,要密切注意玻璃板受力不均而破碎。因此,螺栓须严格按图示1、2、3┈┈┈10、11、12顺序交叉地分多次夹紧玻璃板。 |
【 液面计规定标记 】
名称
|
型号
|
规格
|
标准号
|
备注
|
液面计
|
BR40-Ⅰ,
BR40-Ⅱ, BR40-ⅠZ, BR40-ⅡZ, |
L=500、800、1100、1400、1700、2000
|
HG5-1366-80
|
①凸面法兰(B)按HGJ47-91 DN20,PN4.0MPa
②工作压力:4.0MPa |
液面计
|
BT64-Ⅰ,
BT64-Ⅱ, BT64-ⅠZ, BT64-ⅡZ, |
L=500、800、1100、1400、1700
|
HG5-1365-80
|
①凸面法兰(B)按HGJ47-91 DN20,PN6.3MPa
②工作压力:6.3MPa |
液面计
|
A(B)T25-Ⅰ,
A(B)T25-Ⅱ, A(B)T25-ⅠZ, A(B)T25-ⅡZ, |
L=500、800、1100、1400、1700、2000
|
HG5-1364-80
|
①突面法兰(A)按HGJ46-91
②凸面法兰(B)按HGJ47-91 DN20,PN2.5MPa ③工作压力:2.5MPa |
液面计
|
R-Ⅰ
R-Ⅱ |
304
|
HG5-1370-80
|
|
液面计
|
R-Ⅲ
|
304
|
HG5-1369-80
|
|
液面计
|
R6-Ⅰ
R6-Ⅱ |
304
|
HG5-1368-80
|
|
液面计
|
R6-Ⅲ
|
304
|
HG5-1367-80
|
工作压力:0.6MPa
|
【 液面计主要技术参数 】
蒸汽夹套接头
|
G1/2"外螺纹
|
伴热蒸汽压力
|
≤0.6MPa
|
液面计工作温度
|
-20~+200℃
|
钢球自动关闭压力
|
≥0.2MPa
|
测量范围(安装中心距L)
|
300、500、800、1100、1400、1700mm
|
反射式液面计工作压力
|
2.5、4.0、6.3MPa、0.6MPa(用于R型)
|
玻璃板液面计材质
|
碳钢、不锈钢
|
【 结构原理 】
HG5-1366-80反射式玻璃板液位计根据连通其原理,将容器内介质液位引至外部玻璃板液位计内,通过透明玻璃直接显示容器内液位实际高度 仪表阀杆密封填料采用柔性石墨压环,密封性能可靠。
【 特 点 】
● 玻璃板型使用安全、耐用。
● 反射式玻璃板型结构简单、维修方便。
● 玻璃板型直读式、读数精确、可靠。
【 液位仪表简介 】
浮球液位仪表由传感器和指示表两部分组成。浮球液位传感器由装有磁簧管的不锈钢护管和装有磁钢的浮球组成。浮球液位传感器的磁性浮球随着容器内液体升降而上下移动,利用感应作用使护管内的磁簧管动作,从而引起线性电阻的阻值变化,通过指示表指针变化来反映液位变化。磁翻柱液位计,是根据浮力原理和磁性耦合作用原理工作的。
版权所有 Copyright(©)2009-2011 江苏力科仪表有限公司
电话号码:0517-86909222 商务热线:15305232668 传真:0517-86909221
地址:江苏省金湖县工业园
技术支持:易品网站建设专家 苏ICP备13047422号-2